在直播电商的激烈竞争中,“澳门COCO姐”和高端姐的操作,给直播带货带来了新的思路。本文分析了这种带货模式背后的心理策略,以及它如何满足中年男性消费者对“成功”和“地位”象征的追求。

“消费能力不如狗的男人”,在直播间一掷千金。
想从男人的腰包里掏钱,有多难?
消费届一直有一条不成文的鄙视链,男人不仅排在女人后面,甚至排在了狗后面——“中年男人不如狗”这句话既冒犯又写实,就连见多识广的电商玩家,也认为中年男人是最难被撬动的群体。
但最近,上百万中年男人,拜倒在一位“女大佬”的石榴裙下,在她的直播间“一掷千金”,只为了一句“兄弟”。
直播间里的“澳门COCO姐”,神情不屑,叱咤风云,打开一个精致的箱子展示商品,掏出定价8.9元的沐浴露,再来一句“有没有实力?兄弟说句话!”而精致的“专柜”直播背景,外国面孔的热场小弟,再配上背景激昂的音乐和尖锐的口哨声,轻松把氛围感拉到极限。

和澳门COCO姐类似的,还有“豪情四姐”“豪情五姐”,同样的“大佬”身份,类似的带货产品,加上相似的带货套路。和女大佬身份不太相符的,则是直播间的各类商品,8.9元的沐浴露,18.8元的男士内裤,20元的烟灰缸……
浮夸的表演和低价的商品,却让百万中年男人按下“关注”和“下单”的按钮:蝉妈妈数据显示,近30天,“澳门COCO姐”涨粉近50万,粉丝数量达到了266.2万,而她的直播观众中,70%都是男性,48.23%位于31—40岁,其近30天的直播带货销售总额超过了7000万元。
7000万元,比起头部带货主播或许还不够看,但论从男人腰包掏钱的能力,澳门COCO姐可谓一骑绝尘,其账号不仅登顶了蝉妈妈抖音男装带货榜的第一,直播销售额更是甩了第二名1000多万元。
直播电商越来越卷,曾经被忽视的市场被重新看见,“最难啃”的中年男人也成了直播电商玩家瞄准的客户群,用低成本帮男人感受“大佬气质”的澳门COCO姐,将曾经的直播电商套路在男人身上复刻了一遍,也让众多中年男性用户,为自己幻想中“高端大气上档次”的大佬生活买单。
01 “女大佬”,带货7000万元
和其他温声细语,恨不得把商品拆开来给用户详细讲解,在直播间“求着”用户下单的主播不同,澳门COCO姐,走的是“女大佬”路线。

“澳门COCO姐”和男助理们
区别于刻板印象中男人爱看的黑丝短裙高跟鞋,澳门COCO姐一身小黑裙,化着烟熏妆,身后还站着几位西装男助理。
直播间镜头略微仰视,澳门COCO姐表情颇为不屑,时不时来一句“没点实力敢叫一姐吗?”“有没有实力?兄弟们说句话!”
当男助理推着盖着黑色绒布的箱子走上前,背景音乐突然变得紧张,直播间氛围也达到高潮,就在大家对盒子里的商品好奇之际,澳门COCO姐一把掀开黑色绒布,从盒里掏出一把牙刷,“纳米级别的,很软很糯。”再用双手比出一个一,一个八,背后的助理顺势惊呼起来,“一块八!”
到这时,讲解还没结束。澳门COCO姐放下牙刷,回应起弹幕,“兄弟,有什么浮夸的?不敢买吗?一块八,我一姐一单亏多少钱!”身后的助理表情浮夸,助播和场控则大喊,“哇,太狠啦!”

在带货香水、T恤和背包等商品时,澳门COCO姐会不断地强调自己的“一姐”身份,将带货的商品和“澳门”“奢侈品” “高端”等标签链接起来,重复着类似的话术。
“拿50万出来玩,看看一姐这个兄弟值不值得你们交!不亏个50万我是狗!”
“男人都爱点面子,喜欢穿BB(直播间带货的男装品牌)。”
“有来过澳门吗?接触过澳门的女人吗?澳门的女人,是不是24K纯爷们?”
浮夸的话术,加上夸张的面部表情,直播间不像在带货,反而像是什么港片中的商业谈判现场,直播间的观众要和屏幕里的COCO姐这位“大佬”谈一笔千万级别的大买卖,以至于有观众调侃——“这阵仗以为上万的买卖,结果只价值十块”。
动不动“拿50万出来玩”的澳门COCO姐,并不是唯一一个在直播间打造“女大佬”人设的主播。
另一位“豪情四姐”,和澳门COCO姐类似,却又不同。
如果说澳门COCO姐走的是酷姐路线,那豪情四姐走的就是新中式风。
直播间中,豪情四姐随意坐在沙发上,一身缎面的新中式套装,把玩着手串,胸口挂着一块绿翡翠,身后则站着两位旗袍女助理,面对直播间好奇她职业的观众,豪情四姐神秘一笑,表示,“先关注,以后慢慢了解”。

和澳门COCO姐一样,豪情四姐也在不断重复相同的话术。
“不相信四姐的就别抢!”
“都问我是做什么的,但是我不能在直播间讲啊!”
“我问你们一句话,能不能记住四姐?来,叫一声四姐。”
带货讲解,也颇具神秘的“大佬”气息。助理端上鳄鱼皮的礼盒,豪情四姐戴上手套,快速打开盒子又合上,随即拿出一条“爱玛家族“的皮带,“不要什么29、39啊,19也不是我的性格,18也不是我的性格,兄弟今天听好了,四姐只需要你们记得我,不需要你们其他的,明白吗?”随后大手一挥,让助理把价格改成17元。
直播间的弹幕中,有人调侃主播和助理“这就是演员的信念感”,有人好奇“这玩意到底谁在买”,当然,也有被戳中需求的人选择下单,而其中大多数人,都是中年男性。
以9月12日的直播为例,蝉妈妈数据显示,澳门COCO姐整场直播的销售额达到了410万元,直播观众中,70.8%为男性,48.3%的观众年龄处于31—40岁;豪情四姐的整场直播销售额达到了210万元,直播观众中,72.5%为男性,41.6%的观众年龄处于31—40岁,23.7%的观众年龄处于41—50岁。
带货数据,也证明了不少中年男人就吃这套。
蝉妈妈数据显示,近30天,豪情四姐带货13场,总销售额达到了2534万元;澳门COCO姐直播了23场,总销售额达到了7338.4万元。在男装品类的带货月榜上,澳门COCO姐登顶榜首,带货成绩甩了第二名1000多万元。
02 直播间的“奢侈品”,只要九块九
对不少人而言,看澳门COCO姐和豪情四姐的直播,就像在看令人尴尬的情景剧,也像是将古早港台片中的场景搬进直播间。

澳门COCO姐不断强调自己是澳门的明星服装设计师,和身后西装革履、异域面孔的男助理一同出现,直播间瞬间有了“高端大气上档次”的氛围感。
豪情四姐的视频号主页介绍是“CEO”和“执行总裁”,直播间则更像是精致的样板间,两位穿着礼服和旗袍的女助理颇有刻板印象中美丽女秘书的感觉,带货时拿着手串双手合十,更是让人一瞬间幻视了《孤注一掷》中的王传君。
两位女大佬一边塑造神秘高端的“明星服装设计师”“女总裁”身份背景,一边带货低至1.88元的牙刷、5元的香水、9.9元的小种红茶,还要强调一下不少商品是“自用”的。至于直播间出现的各类“奢侈品牌”,也有着擦边真正国际大牌的嫌疑。
比如澳门COCO姐口中所说的“爱面子男人喜欢穿”的BB BRAELF。

左:巴黎世家短袖 右:澳门COCO姐直播带货的BB男装
在时尚圈,BB指的是Balenciaga(巴黎世家),其颇具特色的标志就是轴对称的“B”字母。而澳门COCO姐直播间售卖的BB,则是一个名为BB巴莱尔的品牌,其表示是两个统一排列的字母“B”。在直播间中,澳门COCO姐往往能将原价五六百、七八百的BB短袖、卫衣“打”到69、79或者99元。
豪情四姐直播间中,“大牌”FEMDH男装是常客,同样“打穿地板价”,而这个品牌的标志和名字,则和奢侈品牌FENDI有几分相似。
直播间的细节,也经不起推敲。
两位女大佬为了证明自己给兄弟们谋了足够的福利,让助手秀出品牌的官网,展示男装原价,时不时还来一句,“抢不到COCO姐/四姐也没办法了,你们自己去专柜买吧”。并且表示在太古汇等地,都有着品牌专柜,支持线下验货,“假一赔四”。
而搜索以上几个品牌的官网,号称国际奢侈大牌却只有中国官网,各个品牌的官网有着类似的布局,类似的服装,不少商品的详情页空白一片,互联网上也很难搜索到相关的佐证信息。
类似的带货方式,和相同的直播套路,神似的衣服,其实有一个最为关键的原因:澳门COCO姐、豪情四姐,其实来自同一家公司,其带货的“国际品牌”,也是这家公司的白牌产品。

直播间的大牌,都来自广州纪元品牌设计有限公司
微信公众号“品牌联盟”发布的一篇报道中提及,澳门COCO姐、豪情四姐都为广州知名的直播电商“纪元品牌”旗下的电商主播。抖音上的“澳门太子”,也是其公司的主播,其直播带货风格,俨然又是一位“大佬”。
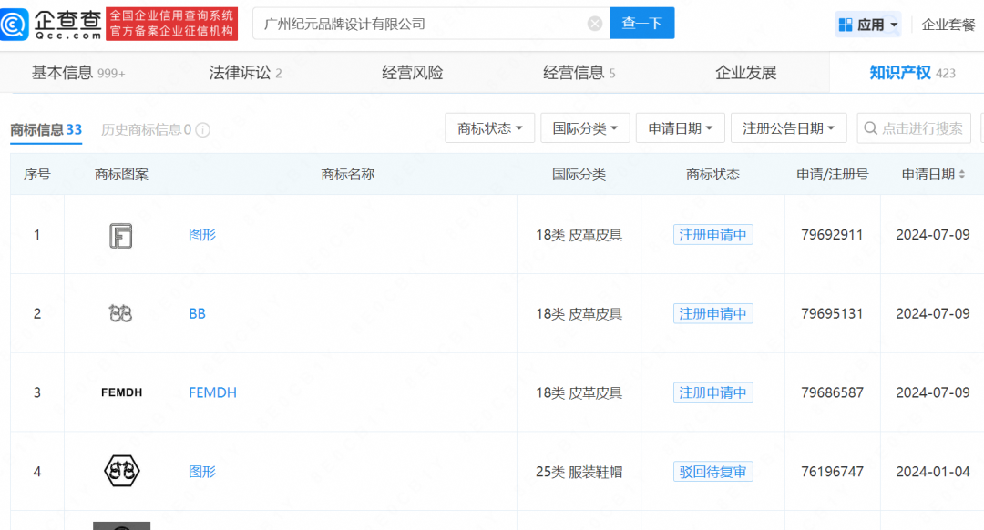
企查查则显示,纪元品牌文化有限公司目前正在申请注册“BB”“FEMDH”等商标,其备案网站中,出现了“femdh.com.cn”“billybrown.com.cn”的身影,直播间信誓旦旦的“假一赔四”,多半是因为产品是自家公司出品,相当于“自产自销”。
在商品评论区,也有不少人表示,“刺绣是粘上去的”“严重掉色”“质量差,根本不值这个价”。
但套路满满,依旧吸引到了不少消费者。

抖音上,有女生抱怨“我老公一定要买这件衣服,他觉得时尚,我觉得小气又没品味”,配图就是一件BILLY BROWN的男装,正是豪情四姐直播间带货的商品。还有不少中年男性,同样在抖音晒出了自己的购物证明,配文“今时不如往日了”“强烈推荐”。
03 “难啃”的中年男人,疯狂“整活”的商家
今年8月,在小红书和视频号走红的女主播,是“高端姐”。
比起女大佬,高端姐更像是一位美艳女秘书,短裙丝袜高跟鞋,搭配上五六个美女的“秘书团”,在视频里介绍着“成功魅力男人”必备的牛仔裤,而一条防水透气还耐造的牛仔裤,只要158元。

浮夸的表演,却让高端姐30天累计预估带货435万—875万元。
从高端姐再到澳门COCO姐,商家疯狂“整活”,卷的都是内容。为她们买单的中年男人,更像是在为直播间打造出的氛围感买单。
美丽神秘的女主播,简单直给的产品介绍,配上极致的价格和一句“兄弟”,很容易让较少接触直播电商的中年男性消费者心动,好像购买了直播间的产品,就能真的成为“成功男人”,或者和直播间的神秘女大佬成为“兄弟”。
从男装赛道切入,是因为在走入后半场的直播电商环境中,主播在“人、货、场”上不断内卷,即便在李佳琦、小杨哥或是辛巴等头部主播的主播间,也没有了“全网最低价”。
曾经消费力“不如狗”的男人,也逐渐在2023年底和今年,转变消费市场的局面。
2023年天猫双11,男人的消费力,“首次超过宠物狗”。天猫榜单显示,“男人新三宝”公路自行车、电竞产品和冲锋衣的消费额增幅分别为305%、114%和90%,大于宠物狗的相关消费,而这些,更多都是为男性提供“情绪价值”的品类。

同样的变化,还体现在今年天猫618的男装榜单中。
榜单显示,男装前五名的品牌分别是优衣库、海澜之家、太平鸟、利郎和GXG。相较于2023年天猫618的榜单,前五名少了一个森马,多了一个利郎:海澜之家、利郎和GXG,都是相对而言比较针对男性的单一品牌,而其余品牌则是集合型品牌,包含了女装、男装和童装。
男人开始给自己的情绪消费,也开始进入直播间购物,在直播电商越来越卷的情况下,男人的钱,可能比女人“更好赚”。
再将视线转回到高端姐的视频,澳门COCO姐、豪情四姐的直播间,他们要不在商品名称上表示“成功男人”“COCO姐男朋友都在用”,要不就让直播间的镜头对准刺绣花纹特写,秀出服饰的“温变设计”“防伪设计”,更加突显产品的“独特”,不落俗流——一旦下单,不仅仅是买了一件衣服,更是品味的体现,还是“大佬”才有的享受,是捡了“大漏”。

澳门COCO姐带货的部分商品的名称
比起刻板印象中男人追求衣服面料、使用效果,直播间的女大佬从“情绪”切入,把曾经用在女性消费身上的套路又来了一次,她们踩中的不是男人追求的实效,而是他们的情绪需求。
只是,女大佬提供的情绪,归根结底来自于人设,人设一旦崩塌,情绪价值就无法持续,而其带货的白牌男装,还远远撑不起直播间的所需的“货”,也不能带来长久流量和带货爆发,现在吸引无数中年男人下单的一句“兄弟”,也总有一天会被听腻。
让男人为情绪买单,切入男人的需求,是现阶段电商玩家抓住的机会,但想要一直让男人买单,没有这么简单。
文|王崭 编辑|王亚琪
本文由斑斓星球作者【电商在线】,微信公众号:【电商在线】,原创/授权 发布于斑斓星球,未经许可,禁止转载。
题图来自 Unsplash,基于 CC0 协议。


评论0